Deze Universele Daktrim zwart (RAL9005) van 2,5 meter is dé oplossing voor een nette en duurzame dakrandafwerking. Gemaakt van aluminium met een stijlvolle antracietkleurige coating, combineert deze daktrim vorm en functie. En past perfect bij zowel moderne als klassieke gebouwen.
Dankzij het meegeleverde koppelstukje werk je de naden tussen de trimstukken strak en waterdicht af. Deze daktrim is universeel toepasbaar voor EPDM en bitumen dakbedekking.
Universele daktrim op EPDM monteren: Gebruik onze MS Polymeer kit en daktrimschroeven met neopreen ring. Dit zorgt voor de perfecte waterdichte afwerking.
Universele daktrim op bitumen monteren: Gebruik onze MS Polymeer kit en breng een laag aan op de dakrand, over de gelegde bitumen. Brand hierna een strook bitumen over de daktrim voor een perfecte waterdichte afwerking.
Verkrijgbare daktrim zwart opties
Rooftopshop heeft de volgende opties in het assortiment:
- Lengte (2500mm)
- Buitenhoek (400x400mm)
- Binnenhoek (400x400mm)
- Extra koppelstuk
Bij aankoop van iedere lengte en hoek (binnen- of buitenhoek) ontvang je één koppelstuk. Extra koppelstukken zijn bij te bestellen.
Levering
De levertijden van de daktrim zwart verschillen per maatvoering:
| 35x35, 45x45, 60x64, 80x64, 110x64 | 1 tot 3 werkdagen |
| 90x64, 150x70, 200x70, 250x70 | 10 tot 15 werkdagen |
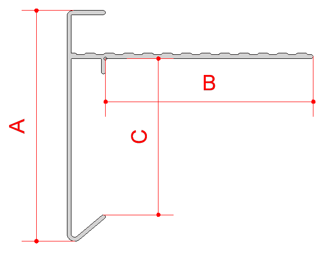
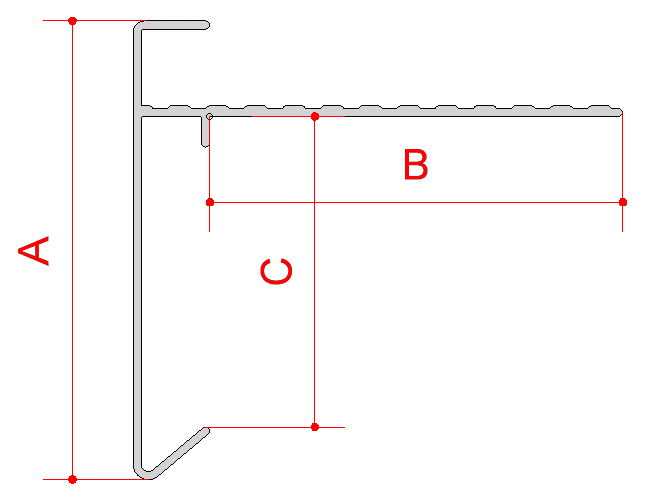
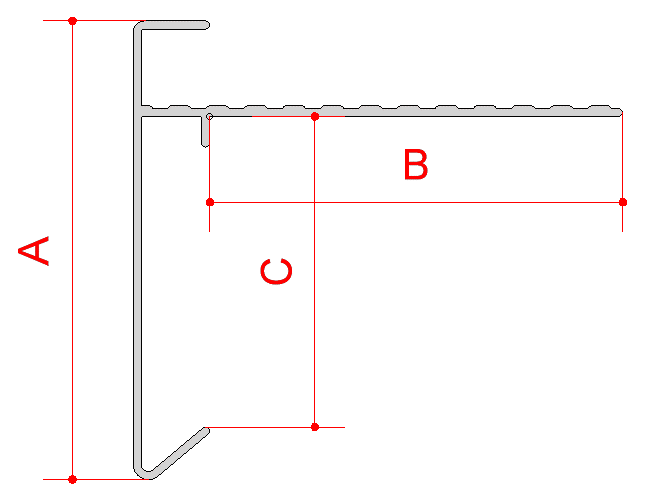
Formaten schematische tekening:
| Maat | A | B | C |
| 35x35 | 35 | 25 | 16 |
| 45x45 | 45 | 35 | 26 |
|
60x64
|
60 | 54 | 41 |
|
80x64
|
80 | 54 | 60 |
|
90x64
|
90 | 54 | 71 |
|
110x64
|
110 | 54 | 91 |
|
150x70
|
150 | 70 | 117 |
|
200x70
|
200 | 70 | 164 |
|
250x70
|
250 | 70 | 217 |
Veilige betalingen
Je betalingsgegevens worden veilig verwerkt. We slaan geen creditcardgegevens op en hebben geen toegang tot jouw creditcardgegevens.




















