Daktrim 80x64 mm met een standaardlengte van 2,5 meter (2500 mm)
Bekijk deze mooi afgewerkte daktrim! De daktrim 80x64 is een veel gekozen dakrand. Gemaakt van de beste kwaliteit materiaal en bestand tegen corrosie.
Bij de montage op EPDM raden we daktrimschroeven en Polymeer kit aan. Op bitumen worden de daktrimmen ingebrand.
Voor een montagehandleiding kan je deze pagina bezoeken.
Bij aankoop van iedere lengte en hoek (binnen- of buitenhoek) ontvang je één koppelstuk. Extra koppelstukken zijn bij te bestellen.
Afmetingen daktrim 80x64
| Lengte: | 2500 mm |
| Breedte: | 64 mm |
| Hoogte: | 80 mm |
| Hoeken: | 400 x 400 mm |
De afmetingen zijn vergelijkbaar met: CA6311 & Roval 151629.
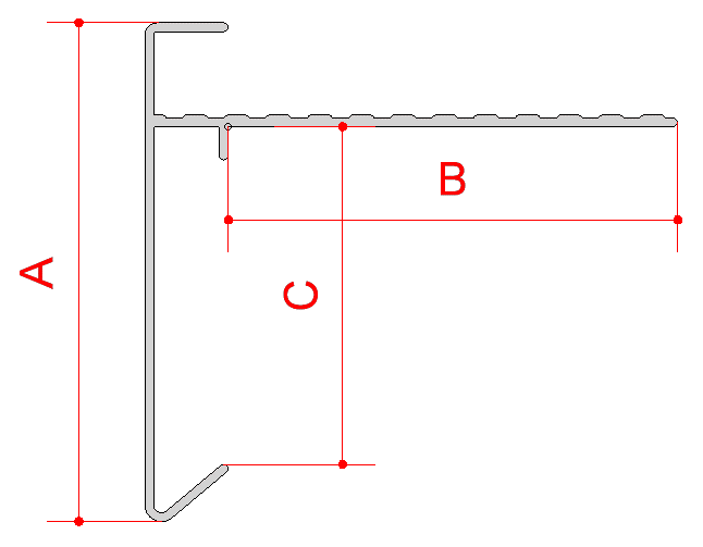
Bij de 5de foto vind je een tekening, de afmetingen in de tekening zijn als volgt:
A = 80 mm
B = 54 mm
C = 60 mm
Verzending & levering
Omdat wij in meer als 400 RAL-kleuren kunnen poeder coaten verschilt de levertijd per kleur. De hardlopende afwerkingen hebben wij altijd op voorraad. Hieronder vind je een indicatie van de levertijden:
| Brute / aluminium | 1 tot 3 werkdagen |
| RAL9005 (zwart) |
1 tot 3 werkdagen |
| RAL7016 (antraciet) |
1 tot 3 werkdagen |
| RAL9010 (wit) | 1 tot 3 werkdagen |
| Overige RAL kleuren |
10 tot 15 werkdagen |
Staat jouw gewenste kleur hier niet bij? Neem dan contact met ons op. We helpen je graag verder.
Veilige betalingen
Je betalingsgegevens worden veilig verwerkt. We slaan geen creditcardgegevens op en hebben geen toegang tot jouw creditcardgegevens.





