Daktrim 90x64 mm met een standaardlengte van 2,5 meter (2500 mm)
Deze daktrim heeft een nette afwerking en is op vele situaties toepasbaar. De daktrim 90x64 resulteert in een langdurige en onderhoudsarme oplossing voor het dak.
Bij aankoop van iedere lengte en hoek (binnen- of buitenhoek) ontvang je één koppelstuk. Extra koppelstukken zijn bij te bestellen.
Ga jij deze daktrim monteren op een EPDM dak? Dan gebruik je MS Polymeer kit en daktrimschroeven. Ook hebben we een handleiding geschreven voor de montage hiervan.
Afmetingen daktrim 90x64
| Lengte: | 2500 mm |
| Breedte: | 64 mm |
| Hoogte: | 90 mm |
| Hoeken: | 400 x 400 mm |
De afmetingen zijn vergelijkbaar met: CA6313 & Roval 151675
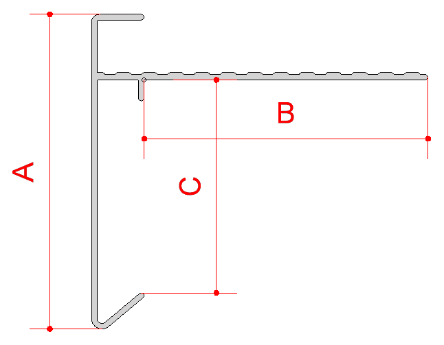
Bij de 5de foto vind je een tekening, de afmetingen in de tekening zijn als volgt:
A=90mm
B=54mm
C=70,6mm
Levertijden
Hieronder hebben we een overzicht van de levertijden per RAL-variant:
|
Brute / aluminium Zwart (RAL9010) Antractiet (RAL7016) |
1 tot 3 werkdagen |
| Wit (RAL9005) | 10 tot 15 werkdagen |
Veilige betalingen
Je betalingsgegevens worden veilig verwerkt. We slaan geen creditcardgegevens op en hebben geen toegang tot jouw creditcardgegevens.





